| Area |
 |
Computer network technology / Security |
 |
|
| IEV ref |
 |
732-06-02 |
 |
|
en |
 |
dual-homed host dual-homed gateway |
 |
 |
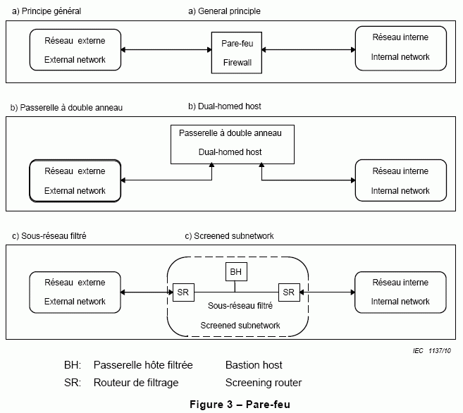
host computer that connects two separate computer networks having different address spaces
NOTE 1 – A dual-homed host can provide security functions as a firewall.
NOTE 2 – See Figure 3.
|
 |
|
fr |
 |
passerelle à double anneau, f |
 |
 |
ordinateur hôte qui réunit deux réseaux d'ordinateurs séparés, ayant des espaces d'adressage distincts
NOTE 1 – Une passerelle à double anneau peut fournir des fonctions de sécurité en tant que pare-feu.
NOTE 2 – Voir Figure 3.
|
 |
|
ar |
 |
الإستضافة المزدوجة |
|
cs |
 |
hostitelský počítač typu "dual-homed" brána typu "dual-homed" |
|
de |
 |
Zweinetze-Gateway, n |
|
es |
 |
anfitrión de dos bases, pasarela de dos bases |
|
fi |
 |
kaksoisisäntäkone kaksoisyhdyskäytävä |
|
ko |
 |
이중 네트워크 호스트 이중 홈 게이트웨이 |
|
ja |
 |
デュアルホームホスト デュアルホームゲートウェイ |
|
pl |
 |
architektura dwuwarstwowa komputera centralnego architektura dwuwarstwowa bramy sieciowej |
|
pt |
 |
passarela de duplo anel |
|
sr |
 |
међусистемски хост, м јд међусистемски мрежни пролаз, м јд |
|
sv |
 |
klient med två nätverksinterface, server med två nätverksinterface |
|
zh |
 |
双宿主机 双穴网关 |